ШАНОВНІ КЛІЄНТИ! САМОВИВІЗ З МАГАЗИНУ МОЖЛИВИЙ ТІЛЬКИ ПРИ ПОПЕРЕДНЬОМУ ЗАМОВЛЕНІ.ДОСТАВКА НОВОЮ ПОШТОЮ ЗДІЙСНЮЄТЬСЯ З ЗАТРИМКОЮ 2-3 ДНІ.
УВАЖАЕМЫЕ КЛИЕНТЫ! САМОВЫВОЗ ИЗ МАГАЗИНА ВОЗМОЖЕН ТОЛЬКО ПРИ ПРЕДВАРИТЕЛЬНОМ ЗАКАЗЕ.ДОСТАВКА НОВОЙ ПОЧТОЙ ОСУЩЕСТВЛЯЕТСЯ С ЗАДЕРЖКОЙ 2-3 ДНЯ.
- мир запчастей для вашей техники
Главная
Запчасти для мототехники
Запчасти для лодочных моторов
Запчасти к лодочным моторам Yamaha 2T
Запчасти для лодочного двигателя Yamaha 9.9-15 л.с. 2-х тактного
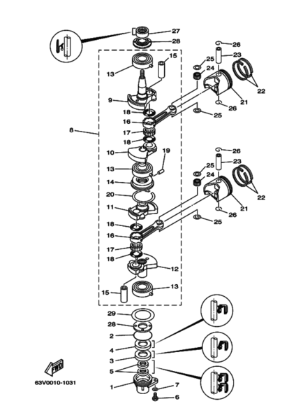
Схема двигателя Yamaha 9.9-15 л.с. 2T (коленвал поршень)
6E7-11631-00-97
Давайте, перейдем на Украинский?